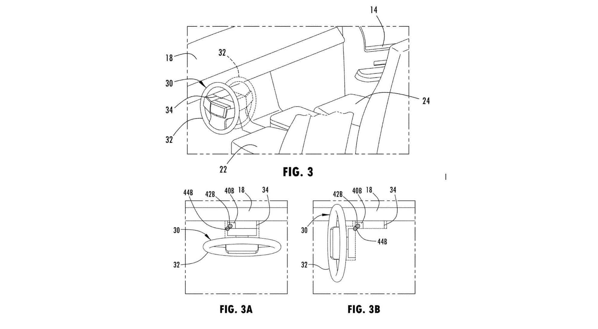
正如美国专利商标局 (USPTO) 于 1 月 4 日公布但福特于 2022 年 6 月 29 日提交的专利申请中所述,方向盘可以倾斜甚至滑过仪表板,从而辅助抓扶。
为了实现这一目标,福特提出了一种电动系统,该系统允许方向盘向前和向后倾斜或旋转,使其垂直于仪表板,从而使进入车辆的人更容易抓扶。
正如美国专利商标局 (USPTO) 于 1 月 4 日公布但福特于 2022 年 6 月 29 日提交的专利申请中所述,方向盘可以倾斜甚至滑过仪表板,从而辅助抓扶。
为了实现这一目标,福特提出了一种电动系统,该系统允许方向盘向前和向后倾斜或旋转,使其垂直于仪表板,从而使进入车辆的人更容易抓扶。
Input your search keywords and press Enter.